Paul Marks, chief technology correspondent
Public and workplace washrooms often have far fewer hand dryers than they have sinks to wash hands in, leaving people queuing for a dryer with dripping hands.
OK, perhaps it's not one of the world's biggest problems. But it is annoying enough to be addressed by vacuum cleaner and Airblade hand dryer maker Dyson of Malmesbury, UK, in a US patent filing: it has invented a water tap that can also dry your hands.
Some fast food joints already have a hole-in-the-wall hand washing system that you poke your hands into, allow them to be squirted with warm water and then dried by a separate air blast from somewhere within the bizarre orifice. Dyson's claimed novelty appears to be that both the water and the blast of drying air come from one elegant mechanism that can be used at every single sink. No more queues.
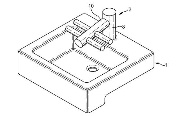
In US patent application 2012/0291195, filed last week, Dyson explains how it will work. The unit is operated hands-free, with sensors releasing water from the underside of a spout, numbered 10 in the image below. When you're done, another sensor recognises when you place each hand, palm open, beneath a pair of left hand (11a/b) and right hand (11c/d) ducts. Your hands are then zapped dry by warm air passed through air-blasting nozzles in the base of each duct (14 and 16). "So a user can conveniently dry their hands at the sink without having to move," the patent says. Handy.
Of course, the fact that Dyson has filed a patent for an invention does not mean it will turn it into a real product. For instance, the range of space-saving cubic kitchen appliances it patented in 2009 has not surfaced at all.
But this patent could be different. Why? Because (a) it is an innovative variation on one of the firm's current, successful product themes and (b) the patent has been given the notably boring title of "Fixture for a sink" - possibly in a bid to make rivals not look twice at it and develop a similar idea that works around the patent. It's a standard trick.
- Board index
- Search
-
- It is currently Sat Mar 28, 2026 12:35 pm
- All times are UTC+05:30
Dyson patents the tap that also dries your hands
General Discussions
Return to “General Discussions”
Jump to
- Programmable Electronics
- ↳ Arduino
- ↳ Raspberry Pi
- ↳ Microcontrollers
- ↳ FPGA
- ↳ Digital Signal Processors
- ↳ Other
- Programming
- ↳ Web programming
- ↳ PHP & MySQL
- ↳ ASP & ASP.Net
- ↳ .Net & Other Programming
- ↳ .NET Programming
- ↳ Visual Basic Programming
- ↳ Java Programming
- ↳ C/C++ Programming
- Engineering
- ↳ Electronics & Electrical Engineering
- ↳ Embedded Systems
- ↳ Computer Science
- ↳ Software Engineering
- ↳ Data Structures & Algorithms
- ↳ Programming Languages & Compiler Theory
- ↳ Operating Systems
- ↳ Cryptography
- ↳ Computer Networks
- ↳ SQL & Database
- ↳ Computer Architecture
- ↳ Graphics & Vision
- ↳ Artificial Intelligence
- ↳ Neural Networks
- ↳ Multimedia
- ↳ Mathematics
- ↳ Other
- ↳ Control Systems & Robotics
- ↳ Mechanical
- ↳ Thermodynamics
- ↳ Fluid Dynamics
- ↳ Aerodynamics
- ↳ Manufacturing
- ↳ Energy
- ↳ Dynamics
- ↳ Statics
- ↳ Automobile
- ↳ Other
- ↳ Other
- Operating Systems
- ↳ Windows
- ↳ Linux
- ↳ Mac OS
- ↳ Android
- ????? ????
- ↳ ???????? ?????
- ↳ ??????? ???? ?????
- ↳ ????? ?????? ???? (Buy Guide)
- ↳ ??????? ???? ??????? (Where to buy)
- ↳ ????????? ???????? (Recommend - Complain - Review)
- General
- ↳ News & Announcements
- ↳ General Discussions
- ↳ Viruses, Trojans, Spyware and Adware
- ↳ Computer & Network Security
- ↳ Web Related
- Members Zone
- ↳ Project Assistance
- ↳ Advertising
- ↳ Jobs & Investment Opportunities
- ↳ Introductions
- ↳ Presents & Donations
- ↳ Entertainment
- ↳ Music & Albums
- ↳ Movies
- ↳ Games

