We need to first connect the ACS712 current sensor properly to an analogue input pin. The value read from the sensor is proportional to current measured on the sensing terminals.
Pin diagram
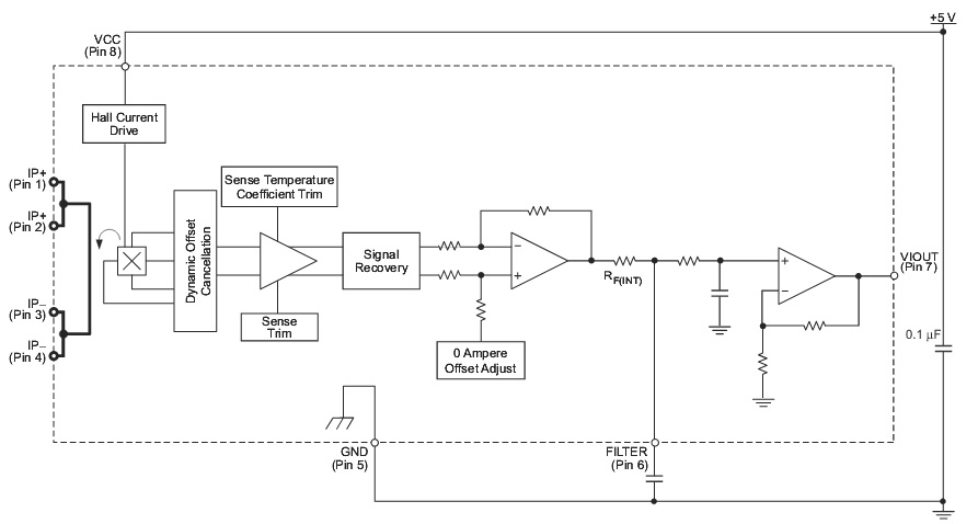
Internal diagram
More information from the manufacturer of this chip.
http://www.allegromicro.com/Products/Cu ... CS712.aspx
You can buy this sensor in Sri Lanka from TRONIC.LK.
- Board index
- Search
-
- It is currently Wed May 13, 2026 7:24 pm
- All times are UTC+05:30
How to connect ACS712 to a microcontroller
Microcontroller Topics
Jump to
- Programmable Electronics
- ↳ Arduino
- ↳ Raspberry Pi
- ↳ Microcontrollers
- ↳ FPGA
- ↳ Digital Signal Processors
- ↳ Other
- Programming
- ↳ Web programming
- ↳ PHP & MySQL
- ↳ ASP & ASP.Net
- ↳ .Net & Other Programming
- ↳ .NET Programming
- ↳ Visual Basic Programming
- ↳ Java Programming
- ↳ C/C++ Programming
- Engineering
- ↳ Electronics & Electrical Engineering
- ↳ Embedded Systems
- ↳ Computer Science
- ↳ Software Engineering
- ↳ Data Structures & Algorithms
- ↳ Programming Languages & Compiler Theory
- ↳ Operating Systems
- ↳ Cryptography
- ↳ Computer Networks
- ↳ SQL & Database
- ↳ Computer Architecture
- ↳ Graphics & Vision
- ↳ Artificial Intelligence
- ↳ Neural Networks
- ↳ Multimedia
- ↳ Mathematics
- ↳ Other
- ↳ Control Systems & Robotics
- ↳ Mechanical
- ↳ Thermodynamics
- ↳ Fluid Dynamics
- ↳ Aerodynamics
- ↳ Manufacturing
- ↳ Energy
- ↳ Dynamics
- ↳ Statics
- ↳ Automobile
- ↳ Other
- ↳ Other
- Operating Systems
- ↳ Windows
- ↳ Linux
- ↳ Mac OS
- ↳ Android
- ????? ????
- ↳ ???????? ?????
- ↳ ??????? ???? ?????
- ↳ ????? ?????? ???? (Buy Guide)
- ↳ ??????? ???? ??????? (Where to buy)
- ↳ ????????? ???????? (Recommend - Complain - Review)
- General
- ↳ News & Announcements
- ↳ General Discussions
- ↳ Viruses, Trojans, Spyware and Adware
- ↳ Computer & Network Security
- ↳ Web Related
- Members Zone
- ↳ Project Assistance
- ↳ Advertising
- ↳ Jobs & Investment Opportunities
- ↳ Introductions
- ↳ Presents & Donations
- ↳ Entertainment
- ↳ Music & Albums
- ↳ Movies
- ↳ Games

