ADC of PIC Microcontrollers have 5 inputs for 28 pin devices and 8 inputs for 40/44 pin devices. It is a 10-bit ADC, ie the conversion of analog signal results in corresponding 10-bit digital number. The positive and negative reference voltage (+Vref and -Vref) of PIC ADC is software selectable, which can be VDD, VSS, voltage at RA2 or RA3. This A/D Converter module can also operate in sleep mode in which clock is derived from its internal RC oscillator. Following points may help you to understand the concept of reference voltages.
- When the ADC input is -Vref, result will be 0000000000
- When the ADC input is +Vref, result will be 1111111111
- Resolution of ADC = (+Vref – -Vref)/(210 – 1), which is the minimum voltage required to change the ADC result by one bit.
We require some hardware knowledge to program PIC ADC in Hi-Tech C. If you don’t need hardware knowledge please skip this part and go to Circuit Diagram.
ADC Module in Detail
Registers
PIC ADC has 4 registers :
- ADCON0 – ADC Control Register 0
- ADCON1 – ADC Control Register 1
- ADRESH – ADC Result High Register
- ADRESL – ADC Result Low Register
ADCON0 Register
ADCS1 and ADCS2 are used to select A/D Conversion Clock. It should be selected in accordance with device clock.
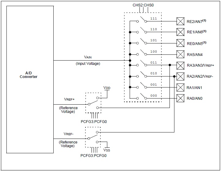
CH2, CH1 and CH0 are used to select one of the analog input channel out of eight channels.
GO/DONE is the A/D Conversion Status bit. Setting this bit initializes A/D Conversion and will be automatically cleared when the conversion is complete.
ADON is used to switch on/off the ADC Module. When it is 1, the ADC Module turns ON and when it is 0, the ADC Module will be OFF.
ADCON1 Register
- ADFM is the ADC Result Format select bit. Two 8 bit register (ADRESH and ADRESL) are provided to store the 10-bit result of A/D Conversion, thus we need’t use 6 bits. When ADFM is 1, the result will be right justified, ie Most Significant Bits of ADRESH will be read as 0. When ADFM is 0, the result will be left justified, ie Least Significant Bits of ADRESL will be read as zero.
- ADCS2 is used to select A/D Conversion Clock in association with ADCS1 and ADC2 of ADCON0 register.
- PCFG3 – PCFG0 are the A/D Port Configuration Control bits. Each pin amoung AN0 – AN7 is configured as analog, digital or reference voltage inputs according to the status of these configuration bits as given below.
Note : TRIS Registers of Analog inputs must be configured as input for the proper operation.
ADC Block Diagram
Selection of A/D Conversion Clock
The time for A/D Conversion per bit is defined as TAD and it requires minimum 12TAD to generate the 10-bit result. The time TAD is determined by the A/D Conversion Clock which is software selectable to following options.
- 2 TOSC
- 4 TOSC
- 8 TOSC
- 16 TOSC
- 32 TOSC
- 64 TOSC
- Internal RC oscillator of ADC Module
TOSC is the time period of the device clock usually provided by the crystal oscillator.
Care should be taken while selecting the A/D Conversion Clock, such that the clock should provide the minimum TAD (1.6?S) required for the correct A/D Conversion. So refer the following table before setting the ADC clock.
Circuit Diagram
The reference voltages of ADC is set to VDD (5V) and VSS (GND) though software (code given below). Analog input is given to Channel 0 using a potentiometer, thus we can vary the ADC input voltage from VSS to VDD. The 10-bit result of ADC is displayed using 10 LEDs, and 470? resistors are used to limit current through them.
Hi-Tech C Code
Code: Select all
#include<htc.h>
#include<pic.h>
#define _XTAL_FREQ 8000000
void ADC_Init()
{
ADCON0 = 0x41; //ADC Module Turned ON and Clock is selected
ADCON1 = 0xC0; //All pins as Analog Input
//With reference voltages VDD and VSS
}
unsigned int ADC_Read(unsigned char channel)
{
if(channel > 7) //If Invalid channel selected
return 0; //Return 0
ADCON0 &= 0xC5; //Clearing the Channel Selection Bits
ADCON0 |= channel<<3; //Setting the required Bits
__delay_ms(2); //Acquisition time to charge hold capacitor
GO_nDONE = 1; //Initializes A/D Conversion
while(GO_nDONE); //Wait for A/D Conversion to complete
return ((ADRESH<<8)+ADRESL); //Returns Result
}
void main()
{
unsigned int a;
TRISB = 0x00; //PORTB as output
TRISC = 0x00; //PORTC as output
TRISA = 0xFF; //PORTA as input
ADC_Init(); //Initializes ADC Module
do
{
a = ADC_Read(4); //Reading Analog Channel 0
PORTB = a; //Lower 8 bits to PORTB
PORTC = a>>8; //Higher 2 bits to PORTC
__delay_ms(100); //Delay
}while(1); //Infinite Loop
}
Article courtesy of electrosome.com

