How to make a Mosquito Repeller

Other Engineering Diciplines
Post Reply
User avatar
Saman
Lieutenant Colonel
Lieutenant Colonel
Posts: 828
Joined: Fri Jul 31, 2009 10:32 pm
Location: Mount Lavinia

How to make a Mosquito Repeller

Post by Saman » Thu Jul 29, 2010 12:01 am

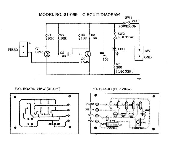
1.jpg
1.jpg (29.13 KiB) Viewed 40788 times
This circuit is intended to drive-off the female mosquitoes with a super sonic sounder. Most of the time when a mosquito is pregnant, she needs more valuable food and will look for humans or other sources of nutrition. In the meantime, she dislikes keeping in close with the male mosquitoes and prefers to look for food alone. Thus, this circuit is intended to produce a sonic frequency range that drives-off the female mosquito.
The two transistors link as a multi-vibrator oscillator circuit while R1, R3, and C2 control the super sonic frequency. The piezo element is the sounder.
2.jpg
2.jpg (65.23 KiB) Viewed 40788 times
3.jpg
3.jpg (30.54 KiB) Viewed 40788 times
4.jpg
4.jpg (28.02 KiB) Viewed 40788 times
Courtesy of Stephanie Fagg
User avatar
Face
Major
Major
Posts: 727
Joined: Thu Feb 18, 2010 5:06 pm
Location: SRI LANKA.KANDY.

Re: How to make a Mosquito Repeller

Post by Face » Sun Aug 08, 2010 12:53 pm

bro this is nice...I don't know any word about electronics....But this Idea made me interesting....Will I able to make this my own..?
Will any body help me out this..

How can I buy the Equipments..The circuit board & so on.....

Will I able to buy the circuit board by searching the model number you have given here...?
User avatar
Rksk
Major
Major
Posts: 730
Joined: Thu Jan 07, 2010 4:19 pm
Location: Rathnapura, Sri Lanka

Re: How to make a Mosquito Repeller

Post by Rksk » Sun Aug 08, 2010 11:56 pm

Hi,

visit an electronic shop to buy parts, but i don't think you will can find the circuit board. This is a simple circuit, anyone can make it.

dear saman,

16k resistors can't find in lanka. will 18k suitable for it?
it will change the frequency!

[ Post made via Mobile Device ] Image
User avatar
Saman
Lieutenant Colonel
Lieutenant Colonel
Posts: 828
Joined: Fri Jul 31, 2009 10:32 pm
Location: Mount Lavinia

Re: How to make a Mosquito Repeller

Post by Saman » Mon Aug 09, 2010 11:01 am

You can try 18K which will make a a slight shift in frequency. Better do an experiment.

Also, you may all put few resistors in series to make 16 L as well.
User avatar
Saman
Lieutenant Colonel
Lieutenant Colonel
Posts: 828
Joined: Fri Jul 31, 2009 10:32 pm
Location: Mount Lavinia

Re: How to make a Mosquito Repeller

Post by Saman » Sun Nov 07, 2010 3:02 pm

See the frequencies which it should produce.
mr.jpg
mr.jpg (15.13 KiB) Viewed 40644 times
ferilferila
Corporal
Corporal
Posts: 3
Joined: Sat May 14, 2011 1:29 am

Re: How to make a Mosquito Repeller

Post by ferilferila » Sat May 14, 2011 3:30 am

Well, My object to the use of such devices. Please note that none of these actually evidence based on a real, just something that is quite possible, and all common sense that these points may be true, Because it flies ultrasound as a method of Detering, when used in wide use in certain areas, it can not be also effect Detering other useful animals such as the echolocation have as their primary means of hunting and the use of ultrasonic Devices can blind a bat from hunting in the area where the device works.
User avatar
Nipuna
Moderator
Moderator
Posts: 2729
Joined: Mon Jan 04, 2010 8:02 pm
Location: Deraniyagala,SRI LANKA

Re: How to make a Mosquito Repeller

Post by Nipuna » Sat May 14, 2011 8:26 am

Cool

Don't you Know a Circuit to Get Rid of Mouses?

Because I've seen one in a Book, But I like to find a Working one and Make It :)
User avatar
SemiconductorCat
Major
Major
Posts: 455
Joined: Mon Aug 22, 2011 8:42 pm
Location: currently in hyperspace

Re: How to make a Mosquito Repeller

Post by SemiconductorCat » Tue Jan 15, 2013 5:46 pm

Nipuna wrote:Cool

Don't you Know a Circuit to Get Rid of Mouses?

Because I've seen one in a Book, But I like to find a Working one and Make It :)

Don't know about mouse. But I know there is a horn [not electronic] and that horn generates around 20KHz and
all dogs in the area are started to bark. He he ! It's funny what they heard and what we can't heard !
User avatar
Nipuna
Moderator
Moderator
Posts: 2729
Joined: Mon Jan 04, 2010 8:02 pm
Location: Deraniyagala,SRI LANKA

Re: How to make a Mosquito Repeller

Post by Nipuna » Tue Jan 15, 2013 6:05 pm

SemiconductorCat wrote:
Nipuna wrote:Cool

Don't you Know a Circuit to Get Rid of Mouses?

Because I've seen one in a Book, But I like to find a Working one and Make It :)

Don't know about mouse. But I know there is a horn [not electronic] and that horn generates around 20KHz and
all dogs in the area are started to bark. He he ! It's funny what they heard and what we can't heard !
:) :) :)
CAT77
Sergeant
Sergeant
Posts: 14
Joined: Fri Nov 15, 2013 8:18 pm

Re: How to make a Mosquito Repeller

Post by CAT77 » Thu Nov 21, 2013 9:08 am

Rksk wrote:16k resistors can't find in lanka. will 18k suitable for it?
it will change the frequency!
I think a suitable combination of series and parallel connected resistors will give an effective resistance of 16k :)
Post Reply

Return to “Other”