This is very very simple Robot , which is very usefull for begineers , who are looking for putting the first step in Robotics.
For building this robot , you do not need any electronics or electrical knowledge. And also you do not need any advance tools. You can make this robot , for no cost. All the things you need to make this robot can remove from old equipments. But results is not cheap. You will have very interesting robot in your hand , with in several minutes.
Beetle Robot
Tools Needed:
soldering iron ( here’s a helpful tutorial on soldering )
electronic solder
diagonal cutter
Mini glue gun
Components for the robot
2x – small 1.5 Volts motors
2x – small paperclips
2x – big paperclips
2x – batteries AAA or AA
1x – battery holder AAA or AA
1x – 2 cm of heat shrink
1x – wooden pearl (for the caster)
1x – meter of electric wire
2x – Sub-mini lever SPDT switches
Here is all the parts for the construction the beetle robot.
1. Cut the electric wire in pieces of 6 cm each, 13 times.
Strip 1 cm at each end.
2. Regroup all the components.
3. Solder each wire to each components except the two batteries
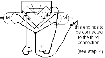
4. Take the battery holder and make a connection to the connection.
This will give a third connection.See picture below.
The blue wire is the third connections
5. Turn the battery holder up side down so the batteries point to the ground. Glue the two switches on the battery holder in a V form.
6. Glue the motor beside each switch so that the shaft touches the ground
7. Take the big paperclip and make the caster like the picture below
You can make a nice looking caster or a normal one
I prefer the nice one
8. How to make the connection
9. Take the small paper clip and bend them to make antenna.
Glue them to the switches and don’t put to much glue.
Add 1 cm of heat shrink to the shaft of each motor
10. Add the batteries in the battery holder and put it on a flat surface to see your creation take life. Congratulation!
- Board index
- Search
-
- It is currently Wed May 13, 2026 5:57 pm
- All times are UTC+05:30
Very Very Simple Robot for Absolute Begineers for no cost
Control Systems & Robotics Topics
Return to “Control Systems & Robotics”
Jump to
- Programmable Electronics
- ↳ Arduino
- ↳ Raspberry Pi
- ↳ Microcontrollers
- ↳ FPGA
- ↳ Digital Signal Processors
- ↳ Other
- Programming
- ↳ Web programming
- ↳ PHP & MySQL
- ↳ ASP & ASP.Net
- ↳ .Net & Other Programming
- ↳ .NET Programming
- ↳ Visual Basic Programming
- ↳ Java Programming
- ↳ C/C++ Programming
- Engineering
- ↳ Electronics & Electrical Engineering
- ↳ Embedded Systems
- ↳ Computer Science
- ↳ Software Engineering
- ↳ Data Structures & Algorithms
- ↳ Programming Languages & Compiler Theory
- ↳ Operating Systems
- ↳ Cryptography
- ↳ Computer Networks
- ↳ SQL & Database
- ↳ Computer Architecture
- ↳ Graphics & Vision
- ↳ Artificial Intelligence
- ↳ Neural Networks
- ↳ Multimedia
- ↳ Mathematics
- ↳ Other
- ↳ Control Systems & Robotics
- ↳ Mechanical
- ↳ Thermodynamics
- ↳ Fluid Dynamics
- ↳ Aerodynamics
- ↳ Manufacturing
- ↳ Energy
- ↳ Dynamics
- ↳ Statics
- ↳ Automobile
- ↳ Other
- ↳ Other
- Operating Systems
- ↳ Windows
- ↳ Linux
- ↳ Mac OS
- ↳ Android
- ????? ????
- ↳ ???????? ?????
- ↳ ??????? ???? ?????
- ↳ ????? ?????? ???? (Buy Guide)
- ↳ ??????? ???? ??????? (Where to buy)
- ↳ ????????? ???????? (Recommend - Complain - Review)
- General
- ↳ News & Announcements
- ↳ General Discussions
- ↳ Viruses, Trojans, Spyware and Adware
- ↳ Computer & Network Security
- ↳ Web Related
- Members Zone
- ↳ Project Assistance
- ↳ Advertising
- ↳ Jobs & Investment Opportunities
- ↳ Introductions
- ↳ Presents & Donations
- ↳ Entertainment
- ↳ Music & Albums
- ↳ Movies
- ↳ Games

