Extrusion is the process by which a block of metal, such as a cylindrical bar or a hollow tube, is forced to flow through a die orifice under high pressure, and thus reduced in cross section. Metals are extruded either hot or cold. Since the extrusion billet in the container and die is under in high compressive stresses, so the metal shows high deformation ability against cracking, and requires high load and power. Extrusion is used to produce long and straight sections of constant cross section. It is a good process for the working of metals difficult to form, like stainless steels, nickel-based alloys, and other high-temperature materials.
There are two basic types of extrusion:
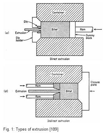
Direct extrusion (or forward extrusion). The metal billet is driven through the die by the ram. The direction of the ram movement is the same as the extruded metal at the exit.
Indirect extrusion (also called inverted, or back extrusion). As the basic form, a hollow ram carries the die and pushes toward, to cause the metal flow out from the die in the direction against the direction of the ram and die. However, as a common form, of indirect extrusion, the ram containing the die is kept stationary, and the container with the billet is caused to move. This eliminates the relative motion between the wall of the container, and thus leads to lower friction forces and power requirement than that for direct extrusion. However, there are practical limitations to indirect extrusion, that is, the force the hollow ram can deliver is limited.
Extrusion Equipment
Most extrusions are made with hydraulic presses. Hydraulic extrusion presses are classified into horizontal and vertical presses, depending upon the direction of travel of the ram. Vertical extrusion presses are generally in the production of thin-wall tubing, where uniform wall thickness and concentricity are required. Horizontal extrusion presses are used for extrusion of bars and tubes. Capacity of presses ranges regularly from 1,500 to 5,000 tons and in some case to 14,000 tons.
There are basically three variations of extrusion, depending on the lubrication technique used. In the nonlubricated extrusion process (Fig. 2, left), a flat face die is used, and the material flows by internal shear and causes a "dead-metal zone" to form in front of the extrusion die. In lubricated extrusion (Fig. 2, middle), dies with conical entrance angles are used. A suitable lubricant is present between the extruded billet and the extrusion tooling, i.e, the container and the die
The more recently developed technique for extrusion is hydrostatic extrusion. With this process, the billet may have a large length-to-diameter ratio (even coils of wire can be extruded) or it may have an irregular cross section. Since there is no container-billet friction, the curve of the extrusion pressure vs. ram travel is nearly flat. Because of the pressurized fluid, lubrication is very effective, and the extruded product has good surface finish and dimensional accuracy. Also it is possible to use dies with a very low semicone angle, which greatly minimizes the redundant deformation. Some limitations occur, however, for the hydrostatic extrusion. Besides the practical limit on fluid pressure, there are also problems in the control on the exit from the die due to large amount of stored energy in a pressurized fluid. Most recent development for the hydrostatic extrusion uses thick-film hydrostatic extrusion to minimize the amount of pressurized fluid (Fig. 2, right).
The ram speed of the press can be an important parameter. Ram speeds of 1,000 to 1,500 in/min may be used in extruding refractory metals, while aluminum and copper alloys require the ram speeds of a few inches per minute since they are prone to hot shortness.
Dies used are flat-faced dies, for non-lubrication situation, and dies with conical entrance angles, which are used in extrusion with good lubrication.
In addition, following facilities are also needed:
billet-heating facilities
automatic transfer equipment
A hot saw
a runout table
a straightener
etc.
- Board index
- Search
-
- It is currently Mon Oct 27, 2025 11:37 am
- All times are UTC+05:30
Introduction to Extrusion
Manufacturing Topics
Jump to
- Programmable Electronics
- ↳ Arduino
- ↳ Raspberry Pi
- ↳ Microcontrollers
- ↳ FPGA
- ↳ Digital Signal Processors
- ↳ Other
- Programming
- ↳ Web programming
- ↳ PHP & MySQL
- ↳ ASP & ASP.Net
- ↳ .Net & Other Programming
- ↳ .NET Programming
- ↳ Visual Basic Programming
- ↳ Java Programming
- ↳ C/C++ Programming
- Engineering
- ↳ Electronics & Electrical Engineering
- ↳ Embedded Systems
- ↳ Computer Science
- ↳ Software Engineering
- ↳ Data Structures & Algorithms
- ↳ Programming Languages & Compiler Theory
- ↳ Operating Systems
- ↳ Cryptography
- ↳ Computer Networks
- ↳ SQL & Database
- ↳ Computer Architecture
- ↳ Graphics & Vision
- ↳ Artificial Intelligence
- ↳ Neural Networks
- ↳ Multimedia
- ↳ Mathematics
- ↳ Other
- ↳ Control Systems & Robotics
- ↳ Mechanical
- ↳ Thermodynamics
- ↳ Fluid Dynamics
- ↳ Aerodynamics
- ↳ Manufacturing
- ↳ Energy
- ↳ Dynamics
- ↳ Statics
- ↳ Automobile
- ↳ Other
- ↳ Other
- Operating Systems
- ↳ Windows
- ↳ Linux
- ↳ Mac OS
- ↳ Android
- ????? ????
- ↳ ???????? ?????
- ↳ ??????? ???? ?????
- ↳ ????? ?????? ???? (Buy Guide)
- ↳ ??????? ???? ??????? (Where to buy)
- ↳ ????????? ???????? (Recommend - Complain - Review)
- General
- ↳ News & Announcements
- ↳ General Discussions
- ↳ Viruses, Trojans, Spyware and Adware
- ↳ Computer & Network Security
- ↳ Web Related
- Members Zone
- ↳ Project Assistance
- ↳ Advertising
- ↳ Jobs & Investment Opportunities
- ↳ Introductions
- ↳ Presents & Donations
- ↳ Entertainment
- ↳ Music & Albums
- ↳ Movies
- ↳ Games

